Cesare Bialetti fu il fondatore delle Officine Meccaniche Gozzano.
E' una bella
copertura, sono molto contenta, grazie signora T. Visto che devo girare tanto,
penso che sia bene farmi vedere anche da altre parti. Così ho una buona scusa
per andare a trovare la mia amica Alba Bialetti a Piedimulera, cioè dalla parte
opposta di dove vado di solito. Tra andata e ritorno da Pieve sono sette
chilometri in più, ma ormai alle mie gambe poco importa, sono super allenate.
Sono molto
contenta di vedere facce diverse, facce amiche, ma anche in casa Bialetti c'è
guerra, una guerra molto personale di papà Bialetti. Lui, il cavaliere
Cesare, ha una piccola fabbrica di manufatti metallici a Piedimulera e, dato
che di questi tempi è più prudente starsene tappato in casa, passa il suo tempo
a collaudare un nuovo tipo di caffettiera di sua invenzione. Non si può più
andare in cucina senza il via libera; è pericoloso, ci si può trovare di colpo
nel bel mezzo dell'esplosione e dell'eruzione di quel diabolico arnese.
Immancabilmente, come arrivo, il cavaliere mi dice: «Ti preparo un buon caffè».
Con Alba e
qualcuno dei suoi fratelli aspettiamo ridendo in salotto. Anche per questa
volta niente caffè e la povera cucina, che ha assunto l'aspetto di un vero
campo di battaglia, avrà qualche buco in più, segno dell'ennesimo fallimento di
un'avveniristica caffettiera. I miei contatti non bastano più, papà vuole
incontrarsi personalmente con Mondo, ha bisogno di parlargli non per interposta
persona. Ma come fare? Lui non può girare come me, lo noterebbero subito.


CONFEDERAZIONE SVIZZERA UFFICIO FEDERALE DELLA PROPRIETÀ INTELLETTUALE
ESPOSTO D'INVENZIONE
Pubblicato il 16 agosto 1948
Classe
15/
Domanda depositata: 15 giugno 1946, ore 12. — Brevetto isoritto: 15 novembre 19; (Priorità: Italia, 19 febbraio 1946.)
BREVETTO PRINCIPALE
Società Anonima Fratelli Bialetti, Piedimulera (Novara, Italia)
Dispositivo per la preparazione domestica di infusi caldi, segnatamente di caffè espresso.
Oggetto del presente trovato è un dispositivo per la preparazione
domestica di infusi caldi, segnatamente di caffè espresso il quale
presenta, rispetto ad altri dispositivi del genere già noti, il
vantaggio di una grande semplicità e di una buona sicurezza di
funzionamento ed evita al tempo stesso l'uso delle guarnizioni che sono
il punto debole di apparecchi del genere.
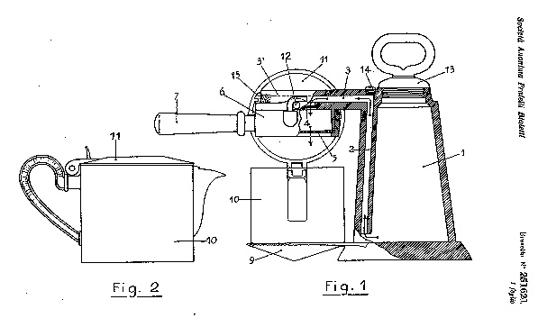
io II disegno annesso illustra schematicamente, parte in vista e
parte in sezione assiale, un dispositivo secondo il trovato, destinato
specialmente alla preparazione del caffè.
Fig. 1 è una vista del dispositivo completo ìs in posizione di funzionamento.
Fig. 2 è una vista laterale della cogoma.
Come risulta dal disegno, il dispositivo in questione comprende un
corpo di caffettiera 1 destinato a funzionare da caldaia ed entro il 20
quale viene disposta l'acqua da scaldare per la preparazione
dell'infuso. 2 è un canale ricavato di fusione- su un lato della
caffettiera 1 ed entro il quale l'acqua bollente viene spinta per la
pressione del vapore che si genera nella as parte superiore della camera
1 e che attraverso il condotto orizzontale 3 viene portato a passare
attraverso i filtri 4 e 5 solidali l'uno al braccio sporgente 3' della
caffettiera e l'altro all'organo amovibile 6 manovrabile per so mezzo
del manico 7 ed entro il quale viene disposta la polvere che deve
servire per la preparazione dell'infuso
Parallelo e sottostante al braccio orizzontale 3' sporgente dal
corpo principale dell'apparecchio vi è un sostegno a mensola 9 sul quale
viene disposta la cogoma 10 destinata a ricevere l'infuso pronto, per
versarlo nelle diverse tazzine. Detta cogoma avrà dimensioni appropriate
e corrispondenti a quelle della caffettiera e, in fig. 1 è
rappresentata col coperchio 11 aperto pronta a ricevere l'infuso, mentre
in fig. 2 è rappresentata chiusa, in vista ortogonale a quella della
fig. 1.
Il funzionamento dell'apparecchio sopra descritto è il seguente: La
caffettiera 1 nella quale sarà stata disposta l'acqua in quantità
proporzionale al numero di tazzine d'infuso che si desidera ottenere,
completa del porta-filtro 6 contenente la polvere per l'infuso, verrà
riscaldata disponendola su un fornello a legna, carbone, gas o
elettricità e verrà lasciata a scaldare fino a che la massa d'acqua
contenuta in 1 non entra in ebollizione e sotto leggera pressione,
sufficiente per obbligare la massa d'acqua a risalire attraverso i
condotti 2 e 3 ed attraversare i filtri 4 e 5 nonché la massa di polvere
contenuta tra essi.
Terminata tale preparazione, il porta-filtro 6 viene levato per
disimpegno dal suo, collegamento a baionetta, con i piuoli 12 solidali
al braccio fisso 3', la polvere usata verrà tolta e sopra al filtro 5
verrà posta dell'altra polvere fresca per la preparazione di altro
infuso, indi il porta-filtro 6 verrà rimesso in
posto e, se l'acqua contenuta nella camera 1 sarà stata in massima
parte adoperata, della nuova acqua verrà introdotta in essa attraverso
l'apertura superiore della caffettiera s normalmente chiusa con un tappo
a vite 13 che è senza guarnizione di tenuta, come pure il collegamento
fra il braccio fisso 3' e porta-filtro 6.
In particolare, i filtri 4 e 5 saranno studiati in modo da non
otturarsi col tipo di polvere che verrà comunemente usato per la
preparazione dell'infuso e in particolare per ottenere una perfetta
filtratura si potrà combinare col filtro metallico fisso 5 un filtro di
sottile tessuto disposto preferibilmente al disotto del filtro 5
suddetto. La tenuta fra gli elementi 3' e 6 è assicurata dalla polvere
del caffè stessa, che fa anche da guarnizione.
Inoltre il tutto è facilmente ispezionatole 2o e in particolare lo
sono anche i condotti 2 e 3 grazie a fori d'ispezione appositamente
previsti e chiusi normalmente con le viti 14 e 15.


